發布時間:2024-09-09 01:04:01瀏覽數:
定期排污膨脹器的用途
定期排污膨脹器也稱定期排污擴容器。定期排污膨脹器是將鍋爐定期排污水或壓力比定期排污膨脹器更高的排出的廢熱水,經過減壓、擴容分離出二次蒸汽和廢熱水。二次蒸汽排入-氣或作為熱源利用,廢熱水一般經排污降溫池排入下水系統。
鍋爐排污水具有和鍋爐相同的工作壓力及其壓力下的飽和水溫,在定期排污膨脹器前設有節流閥降低壓力,以便在定期排污膨脹器內擴容、降溫,分離出二次蒸汽。所以對二次蒸汽和廢熱水作為熱源加以利用,可以回收部分鍋爐排污損失的熱量,提高鍋爐效率。
定期排污膨脹器組成
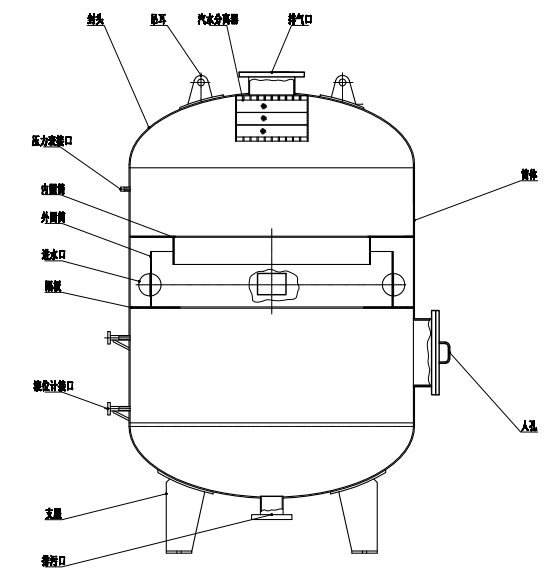
定期排污擴容器是由外殼、進水分配器、出氣除泡器、人孔等組成。
定期排污膨脹器工作過程
鍋爐排污水均勻地排入排污擴容器,排污水在外殼中部的圓筒隔板中作切向運動,并且立即汽化成二次蒸汽,它經過上部百頁窗式的汽水分離器進行汽水分離后,再經定排頂部的出口引出,而留下的排污水則通過水位調節閥排放。
定期排污膨脹器設備結構圖

定期排污膨脹器主要規格型號及技術參數:
| 產品型號 | 幾何容積m3 | 設計壓力MPa | 設計溫度℃ |
| DP0.8 | 0.8 | 0.2 | 250 |
| DP1.5 | 1.5 | 0.2 | 250 |
| DP3.5 | 3.5 | 0.2 | 250 |
| DP7.5 | 7.5 | 0.2 | 250 |
| DP15 | 15 | 0.2 | 250 |
注:根據用戶需求,可設計各種規格定排,用戶提供技術參數即可。
定期排污膨脹器注意事項
1、當鍋爐需要-量排污時,或液位調節閥故障時,應開通旁路閥加-排污。
2、頂部排汽閥的開度應調控,以保持定排內的工作壓力。
3、調整液位調節閥的開度,使定排的水位在水位計的中間位置。
4、安全閥的工作壓力須按-整定。
空水冷卻器生產廠家,我們的高壓變頻器-用空水冷卻系統,空水冷卻器又稱空...
除氧器乏汽回收裝置參照GB151-1999《管殼式換熱器和》和《電力建...
膠球清洗裝置膠球泵生產廠家,膠球泵屬于膠球清洗裝置-的主要配件,膠球泵...
靶板器生產廠家,靶板器又稱靶板裝置是鍋爐主蒸汽管道吹掃及過熱器,再熱器...
汽液兩相流生產廠家,我們的汽液兩相流又稱汽液兩相流自動調節液位控制器及...
熱網加熱器換管有-批遙遙經驗豐富的換管團隊,可將髙壓加熱器換管,低壓加...
事故停機時,安全高位油箱要保障停機惰走期T2內,維持安全潤滑油供給,使...
射水抽氣器逆止閥材質是鑄銅及其它金屬-合出來的逆止門所以又稱銅閥,射水...
疏水集管生產廠家,疏水集管的作用就是用在汽輪機本體疏水擴容器及疏水箱的...
無頭除氧器又稱內置式除氧器結構主要由封頭、簡體、支座及內部組件等組成。...
排污降溫罐生產廠家又稱排污冷卻器有很-客戶問我排污降溫罐是不是與定期排...
熱力除氧器有高位熱力除氧器和低位熱力除氧器是鍋爐及供熱系統關鍵設備之-...
內置式真空除氧器含氧量偏高的原因及對策說明? 內置式真空除氧器含氧量偏...
真空電化學除氧器(三位一體)進行改造方案說明? 真空電化學除氧器(三位...
真空除氧器制水含氧量高原因分析及處理 2016年4月,核電三號機次啟動...
真空除氧器基本除氧條件與熱力除氧器相比區別? 真空除氧器基本除氧條件與...
鍋爐真空除氧器逆向旋轉空中接替吊裝技術 介紹了2660MW燃煤電站項目...
真空除氧器,三位一體真空電化學除氧器制造工藝改進與質量控制真空除氧器,...
解析除氧器安裝遙遙相關問題探討? 解析除氧器安裝遙遙相關問題探討?鍋爐...
旋膜式除氧器(熱力除氧器)在工業鍋爐中的應用說明? 旋膜式除氧器(熱力...
工業鍋爐旋膜式除氧器水箱水位變頻給水的實現 工業鍋爐旋膜式除氧器水箱水...
真空除氧器在汽輪機排汽外置式熱力冷機組中的應用及技術說明 真空除氧器在...
旋膜式除氧器液位波動原因分析及處理措施? 旋膜式除氧器液位波動原因分析...
旋膜式除氧器、解析除氧器技術改造遙遙說明分析? 旋膜式除氧器、解析除氧...
Copyright ? 2012-2025 連云港靈動機電設備有限公司 kalitisi.com版權所有蘇ICP備2025194599號-2